(一)残影是什么?LCD和OLED屏幕上为什么会形成残影现象?

残影是什么?
当图像在屏幕上显示了一段时间之后,改变屏幕图像内容,屏幕上会存在残影(Image retention)现象。即屏幕长时间保持一幅静态图像,在屏幕显示的图像内容发生改变后,上一幅图像将显示为一个微弱的残余图像,视觉效果上与第二个画面同时出现,这也就是所谓的残影现象。
大家可以做一个简单的实验来观察残影现象。
观察残影小实验



步骤一:打开手机调出一张棋盘格图像,在棋盘格画面停留10~20秒;
步骤二:将手机画面切换到48灰阶;
步骤三:画面切换完成瞬间可以看到残影现象,并且逐渐消失。
LCD和OLED屏幕上为什么会形成残影?
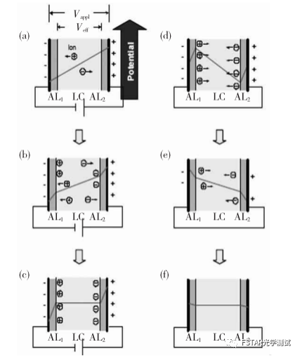
LCD屏幕产生残影现象主要原因有两个。
当液晶显示器长时间
定格在一个固定画面时,
液晶盒内的正负离子
会不对称迁移
并吸附在显示画面位置处的
两个配向膜和液晶的界面上,
形成相对稳定的电场,
当液晶显示器刷新为另外一个显示画面时,
液晶盒内上一幅固定显示画面位置处
杂质离子形成的电场
将会与驱动信号的电场叠加,
造成液晶盒内上一幅固定
显示画面位置处的有效电压增大,
与其他位置处实际驱动的有效电压出现差值,
导致两处的液晶透光率不同,
肉眼能够观察到
上一幅固定显示画面的残留影像,
即出现残影显示缺陷。

以EDL解释离子对液晶电容的影响
OLED屏幕产生残影的原因
当OLED屏幕留下残影时,
也加剧了OLED屏幕的寿命缩短,
其发光效率以及纯度都会随着时间的增长而衰减。

OLED的基本结构

由此可见,残影现象显然会影响用户阅读屏幕的显示内容,引起可读性下降,造成用户体验差,在用户观看视频节目或登录电子游戏时存在明显干扰,除此之外,在一些特殊的场合可能会由于信息获取不及时、错误等状况,导致发生安全事故,例如使用在交通工具上的车载屏幕和机载屏幕。因此,残影现象定量描述的意义重大,对于研究、开发以及屏幕质量合规性评定都非常重要。
下一篇 残影应该如何定量描述?有哪些技术难点?

请先 登录后发表评论 ~